系统简介

科研项目合规管理系统可实现研发项目规范化管理,建立统一、规范的研发管理体系,为企业开展高企申报、高企维护、R&D统计、研发费加计扣除等系列政策业务提供一站式、数字化、智能化的报表服务支撑,减少企业负担。同时,通过本系统规范内部创新研发管理,提升创新管理水平和成效,为提高企业科技创新水平提供有力保障。

系统解决的关键问题

1
解决重复科研立项问题

通过对企业研发项目过程进行数字化管理,准确地做好研发项目从计划、申请、立项、变更、验收到成果等全过程规范管理,提升创新管理水平,建立起企业内部创新研发管理体系。

2
加强科研项目的过程监管

通过系统化、自动化的方式,大大提高企业在科研项目管理上的工作效率,节省时间和人力成本,在申请和享受相关政策时快速形成申报资料,在应对外部检查时突显专业化、体系化管理水平,提升企业科研管理形象。

3
规范科研项目过程材料管理

适应财税部门要求,系统可规范化建立起符合科技、税务、统计等不同政策管理部门口径要求的研发辅助帐,准确归集相关研发投入、科技统计数据,不用依赖于中介机构或财务人员,降低管理风险,最大程度享受优惠政策。

4
建立科研台账,全面把控企业研发大局

通过对研发项目过程资料和科研成果进行数字化管理,提供各种数据和报告,所有的项目信息、文档和成果都可以在系统中查看,提高项目实施透明度,一揽子管理企业整体研发情况,为企业管理决策提供数据支撑。

系统核心功能介绍

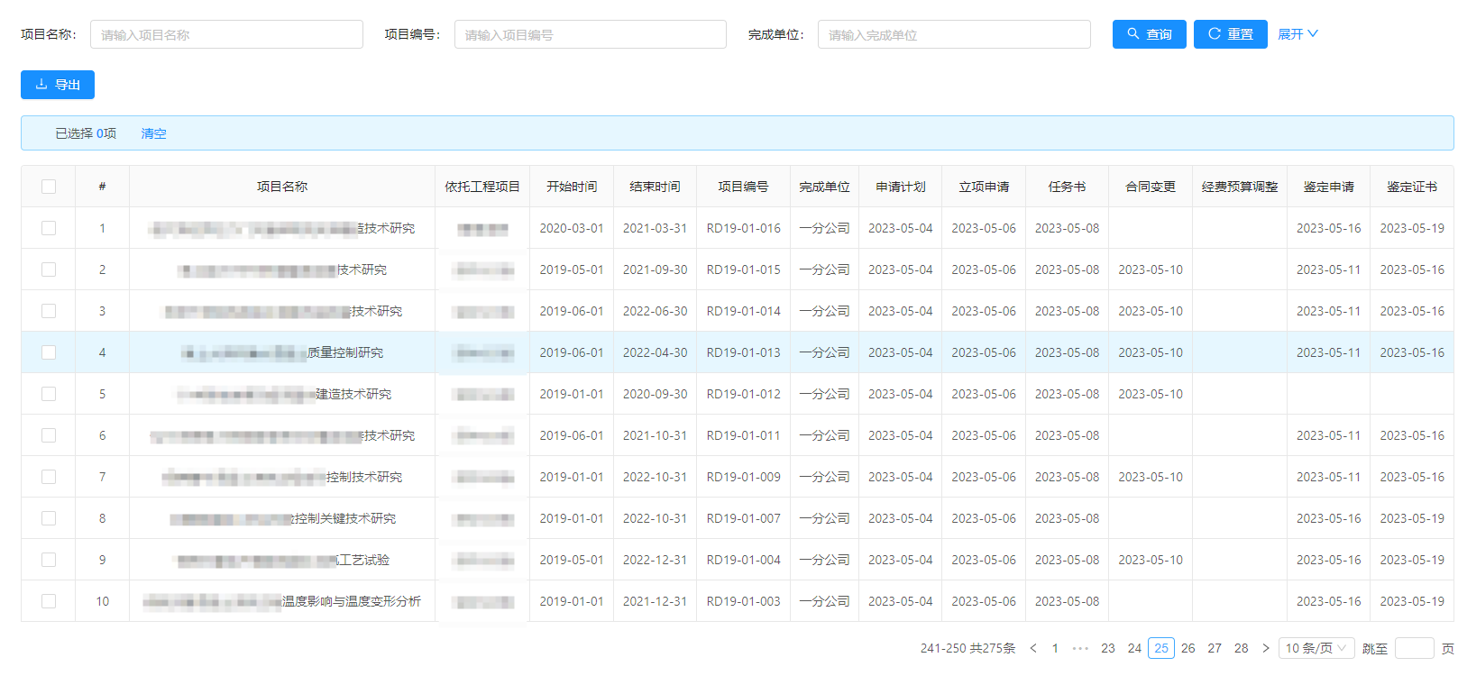
项目全流程管理

部署方式

支持本地化部署,可部署在企业内部服务器上,企业员工通过连接企业内部网络的办公电脑进行访问,确保企业研发数据安全可控。

系统功能

1
统计图表
2
项目台账
3
项目经费使用情况

联系方式

联系人:徐先生、张小姐

电话:020-83491601、83491760

系统试用网址:http://qygj.gzstp.cn

广州生产力促进中心智慧园区管理服务平台,旨在通过打造管理智能化、空间数字化的数智一体化园区运营管理平台,为多园区管理实现降本增效,提高园区运营管理的数字化水平,促进园区内外部信息的流通和资源的优化配置,为园区的可持续发展提供强有力的支持

平台解决的关键问题

1
提升园区全流程数字化管理水平

通过对科技创业园区的信息和运营进行数字化管理,做好园区空间信息管理、线上招商管理、合同和租赁管理、账单管理、物业服务、企业服务、信息服务,共“三管理三服务”的数字化支撑,实现了科技创业园区全流程数字化的运营管理,提升园区全流程数字化管理水平。

2
提升园区合同和租赁管理效率

通过平台建设,建立合同和租赁管理信息的电子台账,建立管理合同签订和租赁管理的电子流程,提升了合同和租赁管理工作的效率;平台还实现了收费策略、收费金额、收费日期可定制、设置的功能,可迅速部署在各园区使用。

3
提升账单管理智能化水平

平台能够根据租赁合同、物业服务记录、水电使用情况等,智能自动生成总账单,经园区管理员在线审核后,自动发送缴费通知给租户,同时还支持线上缴费和发票获取;平台还提供了账单缴费情况统计分析功能,可用于快速定位需要催缴的账单,提高账单管理工作的效率和效能。

4
提升物业服务管理数字化水平

园区管理服务平台通过数字化解决方案,改善解决了物业服务工作多、杂、散、乱的问题,使物业服务工作更加条理有序,提供了装修审批管理、消防巡检任务管理、电梯年检任务管理、树木管理、物业报修管理等多个功能,可用于数字化支撑物业服务工作,提高物业服务工作的效率和服务质量。

平台功能架构图

系统功能

1
数据可视化
2
账单智能化管理
3
空间数字化管理

联系方式

联系人:徐先生、张小姐

电话:020-83491601、83491760